聚丙烯水力喷射真空机组

当前位置:首页 > 产品展示 > PP类 > 聚丙烯水力喷射真空机组

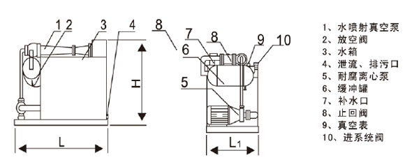
水喷射真空机组

作者: admin 时间:2019-12-02 来源:本站

商品详情


应用范围及特点
RPP水喷射真空机组,喷射泵头采用增强聚丙烯(RPP)一次注塑成型,具有耐腐蚀性能强、机械强度高、结构简单、体积小、使用方便等优点,增强聚丙烯(RPP)卧式水喷射真空机组目前在同类产品中,使用寿命长、排气量大、真空度高、可抽腐蚀性气体等优点,是取代SZ型水环式泵和W型往复式真空泵的理想产品。
该机组广泛应用于真空干燥、真空蒸馏、真空浓缩等,在化工、制药、食品、石油、造纸、电子工业等部门得到广泛应用。该机组可抽腐蚀性气体温度在90℃以内,可与蒸汽喷射泵组成汽水串联真空泵,可达到特殊条件下的真空要求。使用水温在40℃以下。


二、安装使用及注意事项
在安装使用前,必须仔细检查各部位紧固件是否松动,若有松动必须校正拧紧。
设备应安装在平整坚实基础上,保证设备的务重强度。
开机前水池必须加满水,严禁脱水空转及反转,以防止损坏机封和泵。
停机前先放空或真空度降至0.092Mpa以下,然后停机以防真空度过高,倒吸易损坏止回阀,(如止回阀失灵,请打开止回阀盖,清除杂物)。
使用时循环水箱应经常补充冷却水更换循环水,降低工作水温,严防循环水中有颗粒杂物,水池循环水温过高,会影响排气量和真空度,需要及时更换或补充水。


    
 
 
型号说明
RPP-32-180
RPP―――材质代号
32―――进气口内径(mm)
180―――最大抽气量(m3/h)
型号规格及技术参数                                                
以下数据以清水温度25℃,极限真空度是根据当地当时的大气压X本技术参数的保证真空度 

机组型号 极限真空度 保证真空度 Mpa 最大抽气量m3/h 配套离心泵功率KW 机组外形尺寸
Mpa mmHg
RPP-32-40 0.0985 735 0.098 40 50FP(D)-22(2.2) 1400X800X1100
RPP-40-60 0.098 728 0.097 60 50FP(D)-25(3) 1400X800X1100
RPP-54-110 0.0985 732 0.0975 100 65FP(D)-26(4) 1500X900X1100
RPP-54-180 0.0993 735 0.098 180 80FP(D)-30 (5.5) 1900X1000X1100
RPP-54-220 0.0996 738 0.0984 220 80FP(D)-32 (7.5)) 1900X1000X1100
RPP-65-280 0.0993 735 0.098 280 80FP(D)-32 (7.5) 2200X1000X1200
RPP-65-360 0.0995 740 0.098 360 100FP(D)-20 (11) 2300X1100X1200
RPP-80-500 0.0995 740 0.098 500 100FP(D)-32(15) 2500X1200X1300

相关产品

联系我们
Contact
联系我们
我们很想听到您的声音

联系电话:13913763168

公司传真:0512-53259678

企业电话:0512-53519688

地址:江苏省太仓市直塘镇泥桥村

[向上]